Heim / Nachrichten / Verständnis der Struktur und des Mechanismus hydraulischer Drehantriebe

Verständnis der Struktur und des Mechanismus hydraulischer Drehantriebe

Anzahl Durchsuchen:0     Autor:Site Editor     veröffentlichen Zeit: 2024-11-28      Herkunft:Powered

erkundigen

facebook sharing button
twitter sharing button
line sharing button
wechat sharing button
linkedin sharing button
pinterest sharing button
sharethis sharing button

Hydraulische Drehantriebe sind wesentliche Komponenten in industriellen und mobilen Maschinen und wandeln hydraulische Energie in kontrollierte Drehbewegungen um. Dieser Artikel befasst sich mit dem strukturellen Design und den Funktionsprinzipien des hydraulischen Drehantriebs der CY2-Serie, wobei der Schwerpunkt auf seinen Schlüsselkomponenten und -merkmalen liegt.

7db985abcd4fbdb1cfc5b8df349ff35


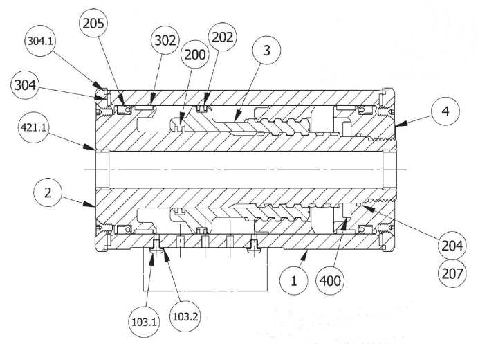
Schlüsselkomponenten des hydraulischen Drehantriebs CY2


Die Struktur des hydraulischen Drehantriebs der CY2-Serie ist sorgfältig entworfen, um Effizienz und Haltbarkeit zu gewährleisten. Nachfolgend sind die Hauptkomponenten aufgeführt:


1. Integrierter Zahnkranz (1): Der Zahnkranz ist in das Antriebsgehäuse integriert und bleibt während des Betriebs stationär. Seine inneren Nuten interagieren mit den spiralförmigen Keilnuten der Kolbenhülse, um die Drehbewegung zu erleichtern.


2. Zentraler Schacht (2): Diese Welle verfügt über einen Montageflansch und integrierte Lager, die eine robuste Unterstützung sowohl für axiale als auch radiale Belastungen bieten. Die Welle ist direkt mit der Maschine verbunden und überträgt Drehbewegungen.


3. Kolbenhülse (3): Die ringförmige Kolbenhülse weist innen und außen spiralförmige Nuten auf. Diese Nuten greifen in die Zentralwelle und den Zahnkranz ein und wandeln die lineare hydraulische Kraft in eine Drehbewegung um.


4. Endkappe (4): Die Endkappe dichtet das Aktuatorgehäuse ab, hält axiale Abstände aufrecht und ermöglicht Einstellungen mit Schrauben und Haltestiften. Es stellt außerdem sicher, dass das System effektiv unter Druck gesetzt wird.



Betriebsmechanismus


Der hydraulische Drehantrieb CY2 wandelt mithilfe eines Doppelhelix-Spline-Systems eine lineare Bewegung in eine Rotationsbewegung um:


1. Wenn Hydraulikflüssigkeit in den Aktuator eingeleitet wird, zwingt der Druck die Kolbenhülse dazu, sich axial zu bewegen.

2. Die inneren Spiralnuten der Kolbenhülse greifen in die zentrale Welle ein und bewirken, dass diese sich dreht.

3. Gleichzeitig interagieren die Außenverzahnungen der Hülse mit dem feststehenden Zahnkranz und verdoppeln so den Rotationseffekt.


Diese synchronisierte Aktion führt zu einer präzisen und kraftvollen Drehbewegung, wodurch sich der Aktuator ideal für Aufgaben eignet, die ein hohes Drehmoment und eine hohe Genauigkeit erfordern.



Lastunterstützung und Haltbarkeit


Die Stellantriebe der CY2-Serie sind für den Hochleistungseinsatz konzipiert und verfügen über Merkmale, die ihre Haltbarkeit erhöhen:


Radiallastunterstützung: Hochfeste Führungsringe (z. B. 302) verhindern Verschleiß und verteilen die Lasten gleichmäßig.

Axiale Lastisolierung: Anlaufscheiben (304) absorbieren Axialkräfte und reduzieren so die Belastung der Zentralwelle.

Ausgleichsventil: Eingebaute Ventile bieten Überlastschutz, Positionsverriegelung und kontrollierte Drehung bei exzentrischen Lasten.



Wartung und Anpassung


Regelmäßige Wartung und der Einsatz geeigneter Werkzeuge sind entscheidend für die Langlebigkeit hydraulischer Schwenkantriebe. Die folgenden Vorgehensweisen werden empfohlen:


Dichtungsaustausch: Ersetzen Sie Dichtungen und Lager immer als komplette Sätze, um Kompatibilität und Leistung sicherzustellen.

Timing-Anpassungen: Verwenden Sie Markierungen und Prüfwerkzeuge, um die Zeitmarkierungen beim Zusammenbau auszurichten.

Maßgeschneiderte Werkzeuge: Erstellen oder verwenden Sie spezielle Werkzeuge, wie z. B. modifizierte Schraubendreher, um die Installation der Dichtung zu vereinfachen und Schäden an Komponenten zu vermeiden.



Anwendungen des hydraulischen Drehantriebs der CY2-Serie


Aufgrund ihrer kompakten Bauweise, der hohen Drehmomentabgabe und des zuverlässigen Betriebs wird die CY2-Serie häufig eingesetzt in:


Industrielle Automatisierung: Positionierungssysteme und Roboterarme.

Baumaschinen: Auslegerdrehung und Greiferbetrieb.

Bergbauausrüstung: Bohrerpositionierung und Materialhandhabung.

Fahrzeugsysteme: Lenkmechanismen und Traktionssysteme.


Abschluss


Der hydraulische Drehantrieb der CY2-Serie zeichnet sich durch ein innovatives Design aus, das Stärke, Präzision und Anpassungsfähigkeit vereint. Das Verständnis seiner Struktur und seines Mechanismus verdeutlicht, warum es eine bevorzugte Wahl für anspruchsvolle industrielle und mobile Anwendungen ist.


Für weitere Einblicke in hydraulische Drehantriebe oder technischen Support wenden Sie sich an Changsha Chiyu Hydraulic Equipment Co., Ltd. oder sehen Sie sich die Seriennummer Ihrer Ausrüstung für detaillierte Spezifikationen an. Sorgen Sie für eine ordnungsgemäße Wartung und verwenden Sie Originalkomponenten, um Leistung und Haltbarkeit zu maximieren.


Unser Verkaufs- und Serviceteam wird sein

freuen uns, Ihnen Vorschläge zu unterbreiten

könnte haben.

Nachricht
KONTAKTIERE UNS

KONTAKTIERE UNS

+86-186-6934-0800
jason@chiyu-hydraulics.com
China, Changsha, Renmin Road 2D (E) 169
Urheberrechte © 2023 Changsha Chiyu Hydraulic Equipment Co., Ltd. 湘ICP备2023016609号-2 Alle Rechte vorbehalten Seitenverzeichnis |Unterstützung von Leadong